中国商飞增资88%!
2025-11-25 08:15 admin
据天眼查App显示,近日中国商用飞机有限责任公司发生工商变更,注册资本由约501.01亿人民币增至约940.98亿人民币,增幅约88%。

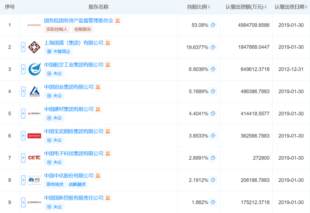
中国商飞成立于2008年3月,法定代表人为贺东风。股东信息显示,该公司由国务院国有资产监督管理委员会、上海国盛(集团)有限公司、中国航空工业集团有限公司等9家股东共同持股。
从具体增资来看,仅中国中化股份有限公司没有增资,其余8家股东全部进行了增资。其中,国务院国有资产监督管理委员会增资金额最高,达247.97亿元,持股比例由49.8%增至53.08%。

中国电子科技集团有限公司、中国铝业集团有限公司、中国建材集团有限公司这3家股东的持股比例也有所提高。
中国国新控股有限责任公司、中国中化股份有限公司、中国航空工业集团有限公司、中国宝武钢铁集团有限公司、上海国盛(集团)有限公司这5家股东的持股比例有所下降。
